销售热线
0571-89935606
0571-89936112
油的介质损耗因数即tgδ值是反映油质受到污染或老化的重要电气指标,它对油中可溶性的极性物质、老化产物或中性胶质以及油中微量的金属化合物极为灵敏,甚至用一般化学方法不能检出的轻微污染也可以用它来监督其变化。
因为电介质在交变电场作用下,因电导、松弛极化和电离都要产生能量损耗,当绝缘油中含有的杂质较多时,这些杂质的离子都是油的电导和松弛极化的主要载流子,必然会使该油的核磁 值增大。绝缘油老化后,生成的极性基和极性物质,同样也使油的电导和松弛极化加剧。
因此,测定绝缘油的电磁值,不论是用于检测新油的轻微污染还是用于检测运行油老化和污染都是十分有意义的。
介质损耗因数 tgδ的测量
将试油装入测量 专用油杯中,并接在高压电桥上,在工频电压下进行测量。
(一)试验方法
试验时应按所用设备说明书的要求进行接线,目前我国使用较多的有关仪器有以下几种。
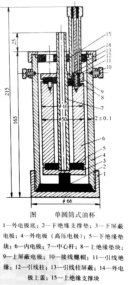
1.油杯
有单圆筒式,双圆筒式及三接线柱电极式。采用最多的是单圆筒式,也称为圆柱形电极,如图所示,它包括外电极(高压电极)、内电极(测量电极)和屏蔽电极三部分。
2.交流平衡电桥
常用的国产电桥为QS37型或其他测量tgδ值能小于0. 01%的灵敏度较高的电桥。
(二)试验步骤
1.清洗油杯
试验前先用有机溶剂将测量油杯仔细清洗并烘干,以防附着于电极上的任何污物、杂质及湿分潮气等对试验结果的影响,即保证空杯的tgδ值应小于0. 01%,才能满足对测试绝缘油的准确度要求。然后用被试油冲洗测量油杯2~3次,再注入被试油至少静置10min,待油中气泡逸出后再进行测量。
2.适当的电压和温度
试验电压由测量油杯与电极间隙的大小而定,一般应保证间隙内的电场强度为1kV/mm。在注油试验之前,必须先对空杯进行1.5倍工作电压的耐压试验。
由于清洁的绝缘油其tgδ值很小(特别是电缆油和电容器油),所以要用精密度较高的西林电桥测量,以确保至少能测出0. 01%的tgδ值。
绝缘油的tgδ值是随温度的升高而按指数规律剧增的。因此,除了在常温下测量油的tgδ值外,还必须将被试油样升温,变压器油升温至90℃,电缆油升温到100℃。
规定要测量高温下的tgδ值是因为在低温下,好油与坏油的测量值有时差别不大,所以判断油质的好坏应以高温下测得的tgδ值为准;同时也由于好油的值随着温度升高增长得较慢,而坏油的 tgδ值却随着温度升高增长得较快。两者在高温下的这种差别,更易于区分油质的好坏。
按标准规定,对变压器油(再生油)90℃时的 tgδ值和新电缆油在100℃时的tgδ值应不大于0.5%,运行中的变压器油应分别不大于2%(500kV),4%(30kV及以下)。